
Yamaha ha formalizado el registro de una arquitectura de geometría variable basada en un pivotaje central, diseñada para trascender las limitaciones de los chasis rígidos convencionales
El nuevo sistema patentado por Yamaha busca optimizar la transferencia de masas durante las fases de carga de par, evitando la desestabilización del eje direccional. A diferencia de los dispositivos de holeshot o reguladores de altura actuales, esta tecnología no se limita a una compensación vertical, sino que ejecuta una reconfiguración morfológica del bastidor en tiempo real para maximizar la huella de contacto del neumático anterior.

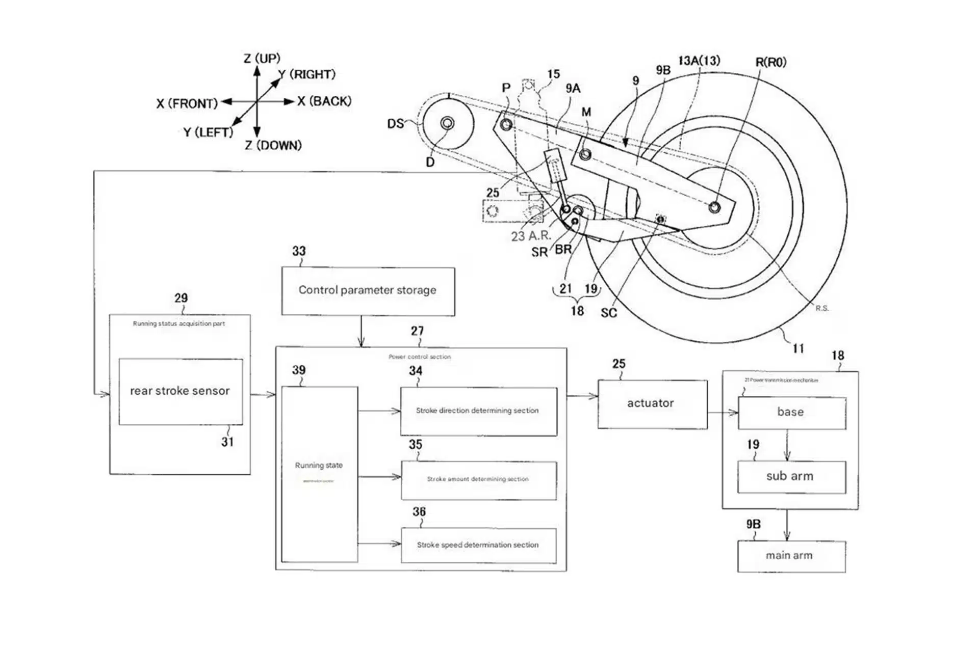
La pieza clave de esta innovación es un actuador hidráulico de alta precisión alojado en el conjunto del basculante
Mediante un acoplamiento excéntrico, el mecanismo es capaz de modular la longitud efectiva del brazo oscilante y, por ende, la distancia entre ejes. Mientras el reglamento de la alta competición impone sistemas analógicos, Yamaha propone una interfaz mecatrónica donde la rigidez torsional y la geometría del vehículo dejan de ser valores estáticos para convertirse en variables adaptativas gestionadas por algoritmos de control dinámico.

El procesamiento de datos se centraliza en una unidad de control que monitoriza vectores de aceleración, grados de incidencia lateral y la demanda del acelerador. Esta gestión electrónica permite que el esqueleto de la motocicleta actúe de forma proactiva ante las fuerzas de reacción generadas por la transmisión final. Al articular el basculante de manera inteligente, se anulan los efectos de compresión inducidos por la tensión de la cadena, eliminando las oscilaciones parásitas y permitiendo una vectores de tracción mucho más limpios y eficientes en la salida de curva.

El proyecto subraya la hoja de ruta de Yamaha
Este avance representa un cambio de paradigma: el chasis deja de ser un elemento pasivo para transformarse en un componente cognitivo que interpreta el asfalto. Aunque la integración de sistemas hidráulicos complejos supone un reto de ingeniería para la producción masiva debido a la masa no suspendida, el proyecto subraya la hoja de ruta de Yamaha. Con patentes paralelas que sugieren sistemas de gestión térmica activa, es probable que la futura generación de superdeportivas de la marca estrene una plataforma estructural capaz de sincronizar su rigidez y dimensiones con el rendimiento termodinámico del motor.
¿Te SUSCRIBES GRATIS a Motosan.es en la campana 🔔? ¡SIGUE HACIA ABAJO para ver las ÚLTIMAS NOTICIAS!